作者:本站 來源:本站 日期:2020/12/17 9:37:26 人氣:360
產品簡介:江西選礦搖床工廠官網, 玻璃鋼螺旋溜槽具有國內先進水平的高效重選新設備。螺旋溜槽用于選別粒度0.3-0.02毫米細粒的鐵、錫、鎢、鉭、鈮、金礦、煤礦、獨居石、金紅石、鋯英石以及具有足夠比重差的其…
玻璃鋼螺旋溜槽具有國內先進水平的高效重選新設備。螺旋溜槽用于選別粒度0.3-0.02毫米細粒的鐵、錫、鎢、鉭、鈮、金礦、煤礦、獨居石、金紅石、鋯英石以及具有足夠比重差的其它金屬、非金屬礦物,經冶金部組織有關科研,設計、高校和廠礦等單位進行鑒定通過,認為該設備性能優良,選別指標先進,確定成批生產推廣使用。

二、玻璃鋼螺旋溜槽結構及材質
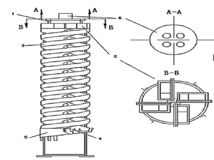
玻璃鋼螺旋溜槽由給礦勻分器、給礦槽、螺旋槽,產品截取槽、產品集聚斗和槽支架(包括十字架或三角架)等六部分組成。由螺旋片聯接成的螺旋槽是主要部件。螺旋片是由玻璃鋼(玻璃纖維增強塑料)制成,借螺栓接在一起,螺旋槽的選別面有一層預制的耐磨層。它具有質輕、堅固、經久耐用消費品的優點。螺旋槽的上方設有多管給礦勻分器分礦均勻,控制簡便。分礦器自由放置在支桌的十字架(或三角架)上。均分的礦漿通過裝在螺旋槽首端的給礦槽緩慢地給到螺旋槽面上,進行分選。螺旋槽的尾端裝在有閥塊式新產品截取槽將分選的新產品沿徑向按品位分成三種(或四種)新產品。用調節閥塊的位置來改變各新產品的截取寬度。新產品集聚斗是一同心環形筒,將已截取的多頭礦流分別匯集導出。螺旋溜槽的橫截面,曲線的斜率變化特別適于細微粒物料的選別。螺旋溜槽具有結構簡單、無運動件、重量輕、元噪音、配置安裝和維修方便等優點。
螺旋溜槽所用耐磨材料的莫氏硬度是9,盡次于莫氏硬度10的鉆石。
三、螺旋溜槽用途:
螺旋溜槽適用于分選粒度0.3--0.02毫米細料的鐵礦、鈦鐵礦、鉻鐵礦、硫鐵礦、鋯英石、金紅石、獨居石、磷乙礦、鎢礦、錫礦、鉭礦、鈮礦以及具有比重差異的其他有色金屬、稀有金屬和非金屬礦物體。螺旋溜槽具有選別過程穩定、容易控制,給礦濃度允許變化范圍大,富集比高、回收率高,占地面積小、耗水量少,結構簡單,無需動力,處理量大,安裝簡易,操作方便,投資小見效快等優點。
四、螺旋溜槽使用方法及原理 :
將螺旋溜槽立起,校準垂直線,用鐵架或木頭固定在合適的位置,由砂泵將礦砂送到螺旋上頂兩個進料口處,加入補充水,調節礦槳濃度,礦槳自然從高往下旋流,在旋轉的斜面流速中產生一種慣性的離心力,以礦砂的比重、粒度、形狀上的差異,通過旋流的重力和離心力的作用,將礦與砂分開,精礦流入精礦斗用管道接出,尾砂流進尾砂斗用管道接到砂池,再用砂泵排走,完成了選礦的全過程。
螺旋溜槽用于選別粒度0.3-0.02毫米細粒的鐵、錫、鎢、鉭、鈮、金礦、煤礦、獨居石、金紅石、鋯英石以及具有足夠比重差的其它金屬、非金屬礦物。
五、螺旋溜槽應用范圍:

六、螺旋溜槽規格及技術參數:
型號
5LL-1500
5LL-1200
5LL-900
5LL-600
5LL-400
外徑(mm)
1500
1200
900
600
400
螺距(mm)
540.72
900,720,540
675,540,405
450,360,270
240,180
螺距/直徑
0.75,0.6,0.45
0.75,0.6,0.45
0.75,0.6,0.45
0.75,0.6,0.45
0.6,0.45
橫向傾角(度)
9°
9°
9°
9°
9°
安裝螺旋頭數
4一2
4一2
4一2
2一1
2一1
給礦粒度mm
0.3-0.02
0.3-0.03
0.3-0.03
0.2-0.02
0.2-0.02
給礦濃度 %
25-55
25-55
25-55
25-55
25-55
生產能力 t/h
8一6
4一6
2一3
0.8-1.2
0.15-0.2
外形尺寸
長(mm)
1560
1360
1060
700
460
寬(mm)
1560
1360
1060
700
460
高(mm)
5230
5230
4000
2600
1500
重量(公斤)
800
600
400
150
50
聯系電話:13687977827
手機號碼:13687977827
客服QQ:377577838
Email: 377577838@qq.com
地址:江西省贛州市石城縣古樟工業園工業三路
如果您對本商品有什么問題,請提問咨詢!